株式投資をする上で、配当金や株主優待を目当てに買う株を考える人もいらっしゃるのではないでしょうか。
確かに、実際にお金が振り込まれたり、優待ギフトが送られてきたりすると、リターンを実感しやすいです。
しかし、株式投資には「株価の値上がり・値下がり」もリターンに大きく影響を与えます。
今回は日本航空(9201)について、「1年前に買った人の、本当の損失額」を見ていきたいと思います。
それではまず、配当金について見ていきましょう。
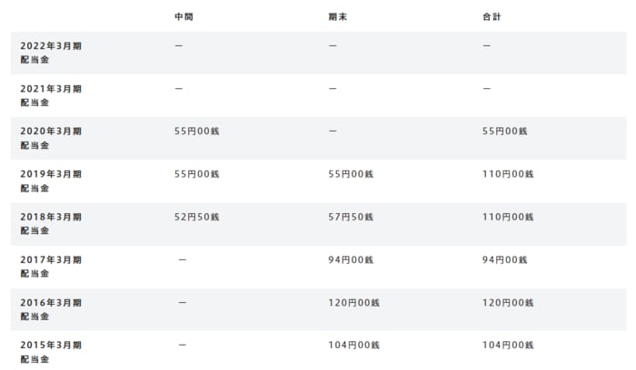
JALの配当金のリターンはいくらか
JALの株式を2021年4月5日の終値(2,464円)で買い、持ち続けたとすると、2022年3月期の中間配当と期末配当の計2回受け取ることができます。
なお、配当基準日を迎えた時点でリターンが確定したとします。
ただ、JALの2022年3月期の中間配当と期末配当はいずれも0円でした。
そのため、100株ベースの配当金のリターンは0円とします。
