企業の業績動向や社会情勢の変化などによって、株価が大きく変動することがあります。
株価の動向は株式投資のリターンに大きな影響を与えるため、注意を払う必要があるでしょう。
株式投資のリターンを考える際は、配当金や株主優待だけではなく、株価変動も含めてトータルで考えることが大切です。
今回はJAL(9201)について、配当金や株主優待、株価もあわせた「1年前に100株を買った人の本当のリターン」を確認します。
※記事中で記載の株価は全て終値となっています。
※株式分割の影響は全て遡及修正して株価を調整しています。
【注目記事】三井物産(8031)の株「1年前に買った人」のトータル・リターンは約15万円に。その内訳は【配当金・株価】(2023年5月第4週)
1. JAL(9201)の配当金のリターンはいくらか
JALの株式を1年前に買い、持ち続けたとすると、「2023年3月期の期末配当」の1回を受け取ることができます。
なお、配当基準日を迎えた時点でリターンが確定したとします。
今回の検証では、以下のような想定となります。
- 株式の取得日:2022年5月24日
- 株式の取得価格:2269円(取得日の終値)
- 2023年3月期・中間配当:0円
- 2023年3月期・期末配当:25円
- 100株ベースの配当金のリターン:2500円
それでは次に、株主優待のリターンを計算していきます。
2. JALの株主優待のリターンはいくらか
JALは決算期(3月31日)現在、100株以上保有する方に向けて株主割引券と旅行商品割引券を提供しています。
2.1 JALの株主優待(株主割引券)【株主割引券(国内線50%割引)】
【3月31日現在の株主】
- 100~299株:1枚
- 300~499株:2枚
- 500~699株:3枚
- 700~899株:4枚
- 900~1099株:5枚
- 1100~9万9999株:5枚+1000株超過分500株ごとに1枚
- 10万株~:203枚+10万株超過分1000株ごとに1枚
【9月30日現在の株主】
- 200~399株:1枚
- 400~599株:2枚
- 600~799株:3枚
- 800~999株:4枚
- 1000~1099株:5枚
- 1100~9万9999株:5枚+1000株超過分500株ごとに1枚
- 10万株~:203枚+10万株超過分1000株ごとに1枚
また、JALパックツアー商品とJMBツアー商品が、正規旅行代金からそれぞれ7%割引、5%割引、ダイナミックパッケージが正規旅行代金から2%割引で利用できます。
大人片道1区間(東京~大阪)を通常時に予約したとすると、時間帯にもより異なりますが2万9310円(2023年5月19日現在)です。割引を適用させると1万4655円の割引額となるため、1万4655円の経済価値と想定します。
また、旅行商品割引券の経済価値を算出するため、JAL公式サイトにてJALパックツアー商品を確認します。
今回は、東京~札幌間の商品(料金:6万4100円(2023年5月26日から1泊))に旅行商品割引券を適用した場合で計算すると、4487円(7%割引)の割引額となります。
そのため、優待のリターンは合計2万3629円です。
3. JALの株式投資のトータル・リターンはいくらか
以上、配当金と株主優待のリターンについて振り返ってきました。
次に、株価変動によるリターンを計算します。
- 株式の取得日:2022年5月24日
- 株式の取得価格:2269円(取得日の終値)
- 取得から1年後の日付:2023年5月24日
- 1年後の株価の終値:2653円
- 100株ベースの株価変動によるリターン:+3万8400円
そして最後に、トータル・リターンを計算します。
- 配当金のリターン:2500円
- 株主優待のリターン:2万3629円
- 株価変動によるリターン:+3万8400円
- トータル・リターン(金額ベース):+6万4529円
- トータル・リターン(%ベース):+28.4%
トータル・リターンは金額ベースで+6万4529円でした。
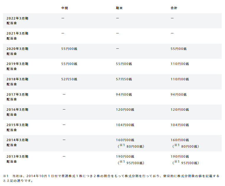
4. JALの配当推移を確認
JALの株式の年間リターンは+28.4%でした。
最後にJALの配当金の推移を確認しましょう。
配当金・優待・株価とそれぞれの要素を確認すると、どのような影響が株式投資のリターンにあらわれているかわかりやすいでしょう。
今回確認した通り、株式投資の際は配当や優待だけでなく、株価水準についてもきちんと確認してみてください。
参考資料
加藤 聖人




